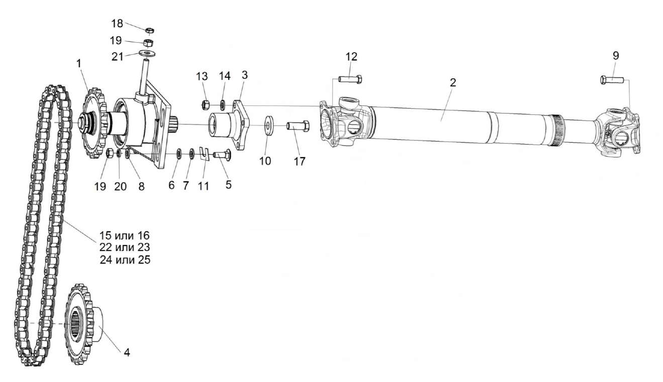
Схема: Установка вала карданного КВС-1-0119000-01
Установка вала карданного КВС-1-0119000-01
Увеличить
Аппарат питающий
КВС-8-0111000
КВС-8-0111170Б Контрпривод
КВС-1 -0119000-01 Вал карданный
Фланец
КВС-8-0111602
КВС-1 -0111624 Звездочка
КВС-1 -0111629-03 Болт
КВС-1-0120401 Шайба регулировочная
КВС-1 -0120401 -01 Шайба регулировочная
КВС-1-0142625 Шайба
КПТ 0100612А Болт
ПКК 0100426 Шайба
ПКК 0202449-01 Прокладка
УЭС 0100601 Болт
УЭС 0100602 Гайка
УЭС 0100607 Шайба
ЦЕП 0004073 Цепь роликовая 16 В-1 ISO 606 L=1447,8 мм
ЦЕП 0004034 Цепь роликовая шагом 25,4 мм DIN 8187
M16-LHx40-DIN933 Болт
M12-DIN936 Гайка
Гайка
M12-DIN934
Шайба
12-DIN127
Шайба
12-DIN9021
16B-1 ISO606 Звено соединительное
16B-1 ISO606 Звено переxодное
Звено соединительное к цепи шагом 25,4 мм
Звено переxодное к цепи шагом 25,4 мм
| Позиция | Артикул | Наименование | Примечание | Количество | В корзине |
|---|---|---|---|---|---|
| 1-25 | КВС-8-0111000 | Аппарат питающий | КВС-8-0110000 | 1 |
|
| 1 | КВС-8-0111170Б | Контрпривод | КВС-8-0111000 | 1 | |
| 2 | КВС-1 -0119000-01 | Вал карданный | КВС-8-0111000 | 1 | |
| 3 | КВС-8-0111602 | Фланец | КВС-8-0111000 | 1 |
|
| 4 | КВС-1 -0111624 | Звездочка | КВС-8-0111000 | 1 | |
| 5 | КВС-1 -0111629-03 | Болт | КВС-8-0111000 | 5 | |
| 6 | КВС-1-0120401 | Шайба регулировочная | КВС-8-0111000 | 4 + | |
| 7 | КВС-1 -0120401 -01 | Шайба регулировочная | КВС-8-0111000 | 4 + | |
| 8 | КВС-1-0142625 | Шайба | КВС-8-0111000 | 4 | |
| 9 | КПТ 0100612А | Болт | КВС-8-0111000 | 4 | |
| 10 | ПКК 0100426 | Шайба | КВС-8-0111000 | 1 | |
| 11 | ПКК 0202449-01 | Прокладка | КВС-8-0111000 | 4 + | |
| 12 | УЭС 0100601 | Болт | КВС-8-0111000 | 4 | |
| 13 | УЭС 0100602 | Гайка | КВС-8-0111000 | 4 | |
| 14 | УЭС 0100607 | Шайба | КВС-8-0111000 | 4 | |
| 15 | ЦЕП 0004073 | Цепь роликовая 16 В-1 ISO 606 L=1447,8 мм | КВС-8-0111000 | 1 | |
| 16 | ЦЕП 0004034 | Цепь роликовая шагом 25,4 мм DIN 8187 | КВС-8-0111000 | 1 | |
| 17 | M16-LHx40-DIN933 | Болт | КВС-8-0111000 | 1 | |
| 18 | M12-DIN936 | Гайка | КВС-8-0111000 | 1 | |
| 19 | M12-DIN934 | Гайка | КВС-8-0111000 | 16 |
|
| 20 | 12-DIN127 | Шайба | КВС-8-0111000 | 18 |
|
| 21 | 12-DIN9021 | Шайба | КВС-8-0111000 | 1 |
|
| 22 | 16B-1 ISO606 | Звено соединительное | КВС-8-0111000 | 1 | |
| 23 | 16B-1 ISO606 | Звено переxодное | КВС-8-0111000 | 1 | |
| 24 | Звено соединительное к цепи шагом 25,4 мм | КВС-8-0111000 | 1 | ||
| 25 | Звено переxодное к цепи шагом 25,4 мм | КВС-8-0111000 | 1 |